Advertisement

Craftsman Dovetail Template

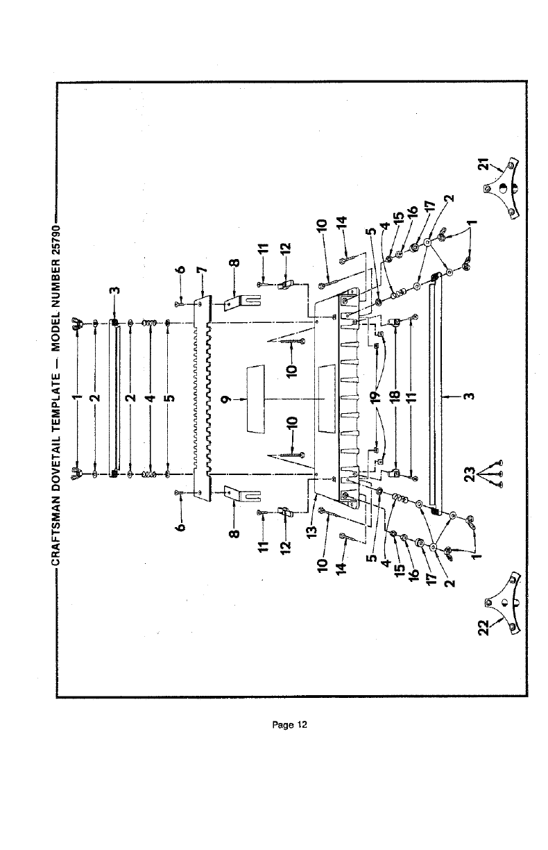
Here are some of the images for Craftsman Dovetail Template that we found in our website database.

CRAFTSMAN Mechanics Tools Kit with 3 Drawer Box 216 Piece (CMMT99206

CRAFTSMAN Mechanics Tools Kit with 3 Drawer Box 216 Piece (CMMT99206

Craftsman Home Tool Kit / Mechanics Tools Kit 57 Piece (CMMT99446

Craftsman Home Tool Kit / Mechanics Tools Kit 57 Piece (CMMT99446

Craftsman

Craftsman

Craftsman Tool Sets: A Roundup of Reliable and Versatile Options

Craftsman Tool Sets: A Roundup of Reliable and Versatile Options

Craftsman CMXGRAM211302 46 Hydrostatic Gas Riding Mower Ace Hardware

Craftsman CMXGRAM211302 46 Hydrostatic Gas Riding Mower Ace Hardware

Craftsman Oconnor Hardware

Craftsman Oconnor Hardware

Craftsman Tool Box

Craftsman Tool Box

Home CRAFTSMAN

Home CRAFTSMAN

How to date craftsman tools conciergeyra

How to date craftsman tools conciergeyra

About Us CRAFTSMAN®

About Us CRAFTSMAN®

Craftsman

Craftsman

Craftsman

Craftsman